O tym się mówi, czyli plotki i ploteczki z ostatniego tygodnia
Nowości w ostatnim tygodniu nie brakowało. Nikon zaprezentował D3s wraz z nowym obiektywem. Nie zawiodły także, BenQ, Carl Zeiss oraz Leaf. Miłą niespodziankę sprawił także Pentax swoim limitowanym K-x Korejanai Robo. Jeżeli plotki z ostatnich 7 dni okażą się prawdziwe, to przyszły tydzień może okazać się równie interesujący. Posłuchajcie...
Uwaga! Poniższe informacje w większości nie są oficjalnymi informacjami producentów i pochodzą często z nieznanych i niepotwierdzonych źródeł.
![]() |
Canon
Następca 1D Mark III
Ostatnimi czasy wiele mówiło się o następcy Canona EOS-1D Mark III. W plotkach na jego temat pojawiały się dwie daty premiery. Jedna z nich wspominała o styczniu 2010 r., a druga o październiku br. Dziś już niemal jako pewnik podaje się dzień 20 października, czyli najbliższy wtorek. Canon ma zaprezentować reporterską lustrzankę wyposażoną w matrycę APS-H, z możliwością kręcenia filmów i bardzo wysoką maksymalną czułością ISO. Niektórzy wierzą nawet, iż będzie to ISO 128000. Wraz z aparatem Canon ma zaprezentować jakieś nowe obiektywy, lecz niestety nie wiadomo jakie to będą modele.
Nowy firmware do EOS 7D
Canon EOS 7D jeszcze na dobre nie pojawił się w sklepach, a znów powracają głosy na temat jego nowego oprogramowania systemowego. Aktualizacja firmware ma pojawić się jeszcze w tym miesiącu i ma rozszerzać funkcjonalność trybu wideo 720p.
Nikon
Dla miłośników patentów
Jak już wspomnieliśmy, Nikon miał swoje 5 minut w tym tygodniu i w związku z tym trudno oczekiwać jakiś plotek na temat jego przyszłych produktów. W takiej sytuacji miłośnicy spekulacji biorą się za grzebanie we wnioskach patentowych, co też uczynił serwis Nikon Rumors.Zauważono tam, iż w ciągu ostatnich 6 miesięcy Nikon złożył wnioski patentowe dotyczące w sumie dwóch obiektywów stałoogniskowych i trzech zoomów o średnicy pola obrazowego wynoszącej 17 mm (mnożnik ogniskowej 2.5x). Co ciekawe nie odpowiada to rozmiarowi żadnej z obecnych matryc powszechnie stosowanych w fotografii, gdyż sensor DX ma przekątną 28.4 mm, matryca systemu Cztery Trzecie 21.6 mm, a największe matryce wykorzystywane obecnie w kompaktach (1/1.7 cala) mogą pochwalić się przekątną na poziomie 9.5 mm (wyjątek stanowią tu kompakty Sigmy i Leica X1). Do czego zatem te obiektywy miałyby być przypinane?
Tutaj przypomina się inny patent Nikona, o którym wspominaliśmy kilka miesięcy temu, a który przedstawiał rysunek aparatu bez lustra z wymienną optyką.
![]() |
Czyżby Nikon przygotowywał się do zaprezentowania nowego systemu?
Olympus
E-P2 nie w tym roku?
Ostatnio pisaliśmy, iż podobno 30 października ma pojawić się kolejny aparat Olympusa systemu Mikro Cztery Trzecie. Teraz okazuje się, iż pod koniec miesiąca mamy jednak zobaczyć następcę modelu E-3 wraz z kilkoma nowymi obiektywami. Natomiast premiera E-P2, który ma być wyposażony w wizjer, planowana jest na wiosnę przyszłego roku.Komentarz można dodać po zalogowaniu.
Zaloguj się. Jeżeli nie posiadasz jeszcze konta zarejestruj się.













Optyczne.pl jest serwisem utrzymującym się dzięki wyświetlaniu reklam. Przychody z reklam pozwalają nam na pokrycie kosztów związanych z utrzymaniem serwerów, opłaceniem osób pracujących w redakcji, a także na zakup sprzętu komputerowego i wyposażenie studio, w którym prowadzimy testy.
A skąd się wam wzieło to ISO128000? Następny skok po 102400, to ISO204800...:)
Całkiem przypadkowo :), przez dopisanie zera do 12800, w praktyce pewnie będzie 102400...
jaad75 - dlatego uzylem sformulowania "Niektórzy wierzą nawet..." :-)
'Teraz okazuje się, iż pod koniec miesiąca mamy jednak zobaczyć następcę modelu E-3 wraz z kilkoma nowymi obiektywami" ta wiadomość wywołała u mnie największe emocje a najwięcej smutku bo nie mam kasy ani na E-X[albo 5 albo 3MII] ani na obiektywy ;/ ale nareszcie ... bo oly z lustrzankami zostaje w tyle jeszcze jak by sigma dorzucali ze 2 obiektywy na 4/3 ew m4/3 bylo by świetnie
Ciekawe jak wypadanie następca E-3.
Pewnie poprawiony zostanie w końcu LCD. Uszczelnienia, szybkostrzelność. Jakieś bajery typu filtry artystyczne - może filmy HD (choć wątpię zwłaszcza jak znów wrzucą dodatkowy slot na karty XD :P ) Może w końcu z szumami Olympus lepiej sobie poradzi od ISO 800 - żeby chociaż ISO 800 było takie jak u konkurencji i do tego używalne ISO 1600 - to byłby wielki sukces.
Z obiektywów mówiono sporo miesięcy temu że ma w tym roku powstać obiektyw ZD 14/2.0 - czyli ekw. 28mm ze światłem 2.0 - jak dla mnie bomba, szeroki kąt z takim światłem schodziłby jak ciepłe bułki pod warunkiem dobrej ceny ;) Miejmy nadzieję że plotki nie okażą się tylko plotkami, bo Olympusa ostanio bardzo zaniedbał lustrzanki w systemie 4/3.
szybkostrzelność na poziomie 7< powinna być filmy ?? po co ja kupuje lustrzankę dla zdjęć zresztą obiektywy 4/3 nie są przystosowane do kręcenia filmów są głośne o obiektywach wiem e było mówione
ISO 128000 to sporo, ale jaka jest funkcjonalność tak dużej czułości? No i co z szumami, wątpię że nie będzie ich przy takiej liczbie ISO.
Pytanie, na ktorym sie konczy ISO natywne i zaczyna software'owe..?
Jerry_R,
Na to pytanie nie ma odpowiedzi, ponieważ wszystkie środki służą i prowadzą do tego samego celu. Na część sprzętową użytkownik nie ma większego wpływu, ale to nie znaczy, że nie ma w ogóle. To użytkownik może przegrzać sprzęt trzymając go wewnątrz nagrzanego samochodu albo nie izolując latem od działania ostrego słońca. Intensywne używanie długich serii, Lv lub video - to samo a w kombinacji z wysoką temperaturą otoczenia jeszcze gorzej, aż na awarii sprzętu kończąc.
Na część softwarową też nie mamy całkiem wpływu, bo jest ona uruchamiana jeszcze na etapie wstępnym, również przed zapisem RAW czy JPG, nawet jak wyłączymy odszumianie całkowicie. Wg mnie to użytkownik z jego subiektywnymi wymaganiami stawia indywidualną granicę i na dodatek nie jest ona stała ale zmienna, gdyż są takie sytuacje gdy jesteśmy skłonni spuścić trochę poprzeczkę, żeby jednak coś zostało z jakiejś unikalnej okazji. Dlatego myślę, że podniecanie się tymi astronomicznymi liczbami nie ma większego sensu, bo nie chodzi przecież o to, aby robić zdjęcia nie zdejmując dekla z obiektywu.
jestem trochę rozczarowany, z wypiekami na twarzy czekałem na nowego Canona 1D, ale widzę że nie będzie mi dane, marzyłem o pełno klatkowej reporterce Canona, a tu znowu APS-H
trudno bedę musiał poczekać, tylko jeszcze ile :(
Ciekawe czy sa w stanie zmodernizowac lustro tak zeby dalo sie dopiac obiektywy APS-C (z cropem) do body APS-H?
wojcias,
Podpinanie obiektywów APS-C do puszki APS-H nie ma sensu, bo mają one za małe pole obrazowe. Jak popatrzysz z tyłu na obiektyw kitowy EF-S 18-55 to ma on kryzę o średnicy otworu 19.3 mm (mierzyłem suwmiarką). Nawet gdyby nie haczył tyłem o lustro to i tak nie ma to sensu, ponieważ 1DMkX to sprzęt najwyższej klasy i nie ma sensu podpinać mu żadnego badziewia. Jakie winietowanie byś miał? Full black!!! Cała idea polega na tym, żeby odwalić kiepską część obrazu z obiektywu FF a zostawić tylko to co najlepsze w środku. Ja używam tylko puszek APS-C i wyłącznie obiektywów FF, kierując się dokładnie tą sama ideą. Raz kupiłem nawet jeden do APS-C (Sigmę 18-125 DC), ale zaraz się go pozbyłem za pół ceny na gwarancji. Never again!
Nikon sobie jakoś z tym poradził i ma cropa na 1,2 i 1,5, więc dlaczego Cano się upiera do APS-H, skoro mogło by być FF z cropem do 1,3 ?
dljm,
Crop z ograniczeniem pola w wizjerze ma tylko jedną zasadniczą przewagę nad tą w programie -- można dokładnie na miejscu wykadrować to co się chce zdjąć. Ma to jednak tylko znaczenie w fotografii statycznej, gdzie jest czas na kadrowanie. W fotografii akcji nie ma na to czasu, a 1D4 to jest sprzęt do akcji, niechby nawet weselnej.
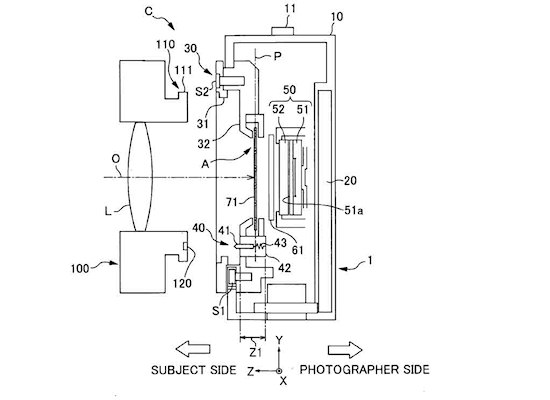
Wytęż wzrok! Na schematycznym rysunku z patentu Nikona widać w okolicy bagnetu dwa elementy oznaczone jako S1 i S2. Jak dla mnie to jest "seal", czyli uszczelka. Niech mnie kule biją, jesli nie pojawi się odnowiona seria podwodnych cyfrowych Nikonosów :)
goornik,
Nie bądź taki pewien. Na 's' zaczyna się też 'screw', a to bardziej przypomina wkręt niż uszczelkę. Moim zdaniem to nie jest ani jedno ani drugie, bo to są zbyt banalne elementy, aby je pokazywać na schemacie patentowym. Nie rozumiem tylko sensu napisów 'strona od fotografa/obiektu'. Czyżby ten patent miał dotyczyć sprzętu dla takich, którzy nie wiedzą, którą stroną robi się zdjęcia? To po co im taka duża matryca?
Oznaczenie strona fotografa / obiektu, jest dla gości, którzy ni w ząb nie kumają fotografii, a decydują o przyznaniu patentu - im trzeba wszystko łopatologicznie wyłożyć.
Hm....rzeczywiście te S1 / S2 wyglądają jak śrubki... szkoda :(
Mnożnik x2.5 jest logiczny dla Nikona - nie chce otwartej wojny z m4/3, ani kanibalizacji swojego APS-C, więc wybiera jeszcze mniejszy sensor.
Co jednak implikujd - nie ma raczej szans na odpowiednik obiektywu 7-14mm, ani na wąską głębię ostrości.
Obiektywy będą ciut mniejsze (zwłaszcza tele) - czyli raczej system projektowany z myślą o obecnych właścicielach większych kompaktów z superzoomami, a nie entuzjastach/hobbystach.
Jak komuś się chce oglądać to tu: link
pdf z całym patentem. S1, S2 sprawdzają czy jest podpięty obiektyw i włączone zasilanie. Na nikonrumors.com jest więcej linków do patentów.
A więc "S jak sensor" - a aparat będzie szalenie ciekawy! Czekamy na kolejne przecieki z NR!
Wcześniej się plotkowało o obiektywach canona z nową stabilizacją, jednak ostatnio temat przycichł.
a na 43rumors napisali to:
1) Olympus will soon announce the next MicroFourThirds camera. It should be very similar to the E-P1. It can use an external viewfinder. No new lenses are expected.
2) The E-3 successor will not be announced now (maybe early 2010). The E-5 will not be an “upgraded” E-3. It will be a completely new camera.
Olek poprawi szumy jak wejdzie w system 4/3 Fuji ze swoimi matrycami, co być może się stanie.