O tym się mówi, czyli plotki i ploteczki z ostatniego tygodnia
Producenci chyba już żyją świętami Bożego Narodzenia, gdyż nowości w ostatnim tygodniu było jak na lekarstwo. Gdyby nie kilka nowych wersji oprogramowania, to nie byłoby o czym pisać. Na szczęście miłośnicy plotek nigdy nie zawodzą i dostarczają nam co rusz nowych tematów. Posłuchajcie...
Uwaga! Poniższe informacje w większości nie są oficjalnymi informacjami producentów i pochodzą często z nieznanych i niepotwierdzonych źródeł.
![]() |
Canon
Canon EOS 60D
Pojawiają się kolejne plotki na temat następcy Canona EOS 50D. Model 60D ma zostać pokazany wiosną przyszłego roku, a w sklepach pojawi się jeszcze przed rozpoczęciem lata. Znajdziemy w nim nową matrycę o rozdzielczości 15.1 Mpix i możliwość rejestracji filmów wideo w rozdzielczości HD (720p) przy 24, 25, 30 i 60 kl/s. Osoby oczekujące trybu Full HD mogą być zawiedzione. Podobno nie ma też co liczyć na wielkie unowocześnienia w systemie AF. Również tryb zdjęć seryjnych pozostanie bez zmian i będzie mógł pracować w maksymalną szybkością 6.3 kl/s.
Rybie oczy w przyszłym roku
Chodzą słuchy, że w przyszłym roku Canon zamierza pokazać dwa nowe obiektywy typu „rybie oko”. Pierwsza „fiszajka” ma być zaprojektowana na matrycę APS-C, a druga, przeznaczona na pełną klatkę, ma zastąpić model EF 15 mm f/2.8, który ma już ponad 20 lat.
Nikon
8 obiektywów w 2010 r.
Jak donosi NikonRumors.com przyszły rok ma być bardzo obfity pod względem liczby premier obiektywów. Podobno Nikon ma zaprezentować aż 8 nowych modeli, co byłoby najlepszym wynikiem od wielu lat.Pierwsze premiery mają odbyć się na przełomie lutego i marca (najprawdopodobniej podczas PMA) i mają przynieść nam model 24 mm f/1.4, a także prawdopodobnie 35 mm f/1.4. Mówi się także, iż w pierwszym kwartale 2010 r. Nikon zaprezentuje również 85 mm f/1.4. W dalszej kolejności można oczekiwać następcy AF 80-400 mm f/4.5-5.6D ED VR, którym ma być model 100-500 mm f/4-5.6 IF-ED VR. W plotkach przewija się także następca modelu AF-S 300mm f/4 ED-IF, który już praktycznie jest niedostępny. W przypadku trzech ostatnich modeli obstawia się następców AF DC 135 mm f/2.0D i AF Micro 200 mm f/4D IF-ED, a także nowego Nikkora AF-S Nikkor 16-35mm f/4G ED VR.
Ile w tym prawdy? Zobaczymy...
Panasonic
Nowa linia kompaktów
Podobno Panasonic zamierza zaprezentować nową linię aparatów kompaktowych o nazwie DMC-FH. W pierwszej kolejności poznamy modele DMC-FH20, DMC-FH3 i DMC-FH1, które zostaną wyposażone w nową matrycę tego japońskiego producenta. Ma ona charakteryzować się lepszą jakością obrazu na wysokich czułościach i większym zakresem tonalnym.
BSI dla systemu 4/3
Podobno Panasonic jest w stanie produkować na masową skalę matryce dla systemu Cztery Trzecie wykorzystujące technologię BSI (Back Side Illumination) . Do tej pory producenci mieli duży problem z zaimplementowaniem tej technologii do większych sensorów i jedynie ograniczali się do wykorzystywania jej w kamerach wideo i aparatach kompaktowych.
Lustrzanka 4/3
Wygląda na to, że pomimo sporego zaangażowania w rozwój systemu Mikro Cztery Trzecie, Panasonic nie zapomniał, iż można nadal produkować lustrzanki systemu Cztery Trzecie. Potwierdza to jeden z wniosków patentowych złożonych przez Japończyków, który dotyczy właśnie nowej lustrzanki systemu 4/3 wyposażonej w matrycę CMOS. Czyżby miał się w niej znaleźć wspomniany wcześniej sensor wykonany w technologii BSI?
![]() Rysunek pochodzi z wniosku patentowego złożonego przez firmę Panasonic. |
![]() Rysunek pochodzi z wniosku patentowego złożonego przez firmę Panasonic. |
Samsung
Samsung ST5500
Do sieci wyciekły zdjęcia i specyfikacja aparatu kompaktowego Samsung ST5500.![]() Zdjęcie ze strony PhotoRumors.com |
Jeśli plotki okażą się prawdziwe, to nowy kompakt koreańskiego giganta będzie charakteryzował się następującymi parametrami:
- matryca o rozdzielczości 14.2 Mpix,
- 7-krotny zoom optyczny,
- wbudowany interfejs WiFi 802.11 b/g,
- 3.5-calowy, dotykowy ekran LCD,
- 100 MB pamięci wewnętrznej,
- obsługa kart microSD,
- tryb wideo 1280×720 pix przy 30 kl/s,
- zakres czułości ISO 80–3200,
- minimalny czas otwarcia migawki 1/2000 sek.,
- możliwość wysyłania zdjęć i filmów za pośrednictwem poczty elektronicznej,
- możliwość publikowania zdjęć i filmów w internecie,
- wyjście HDMI.
Trochę o NX
Pojawiła się plotka mówiąca, że wraz z aparatem Samusng NX producent zaprezentuje obiektyw typu „naleśnik” o parametrach 30 mm f/2.0.
Sony
Nowy typ matrycy
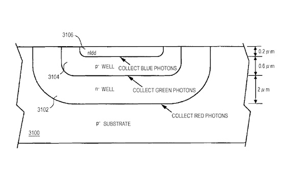
W jednym z wniosków patentowych złożonych przez firmę Sony internauci doszukali się informacji na temat matrycy nowego typu. Ma ona bazować na idei podobnej do tej z matryc Foveon, gdzie korzysta się z komórek czułych na poszczególne składowe RGB. Lecz w tym wypadku nie zastosowano warstwowego ułożenia tych komórek, co z pewnością wpłynie pozytywnie na efektywność działania w słabym świetle. Sony wymyśliło nieco inny układ komórek czułych na poszczególne składowe RGB:![]() Rysunek pochodzi z wniosku patentowego złożonego przez Sony Corporation. |
Kompakt w wymienną optyką
Podobno Sony ma już przygotowany aparat kompaktowy z wymienną optyką i zamierza zaprezentować go światu w marcu przyszłego roku. Ma on być zbliżony gabarytami do Panasonica GF1.Komentarz można dodać po zalogowaniu.
Zaloguj się. Jeżeli nie posiadasz jeszcze konta zarejestruj się.
















Optyczne.pl jest serwisem utrzymującym się dzięki wyświetlaniu reklam. Przychody z reklam pozwalają nam na pokrycie kosztów związanych z utrzymaniem serwerów, opłaceniem osób pracujących w redakcji, a także na zakup sprzętu komputerowego i wyposażenie studio, w którym prowadzimy testy.
Wg mnie rysunek pokazuje podobną konstrukcję do Foveona lecz hybrydową, tzn. część obszarów RGB znajduje się na powierzchni matrycy a część jest semi-transparentna jak w Foveonie.
Od kiedy Panasonic jest koreańskim gigantem?
pinto - doczytaj dokladnie
Coraz cześciej plotki przypominają oficjanle zapowiedzi, tym razem jest wyjątkowo ciekawie :) Ale czy tani FF nadciągnie dopiero w 2011 ?:)
Mam gdzieś te złomy od Canona, Nikona itd. Gdzie moja nowa sd15? ;( Sony pracuje nad czymś podobnym do Foveona? Nic dziwnego. Canon i Nikon również. Dobrze wiedzą, że Bayer to ślepy zaułek. Pożyjemy, zobaczymy...
sony będzie robiło alfredy 3D? -> link
Czy dobrze patrzę, że zdjęcie tego niby nowego Samsunga zostało zrobione lustrzanką Samsunga (którą posiadam Gx20 ), szkoda że nie zrobili odpowiednika Pentaxa K7 :-( , moim zdaniem każdy szanujący się producent aparatów ( a Samsung chciałby aby go tak nazywano ) powinien mieć w swojej ofercie DSLR,
Czy to że Panasonic myśli o nowej lustrzance w 4/3 oznacza że nie jest prawdą że aparaty z lustrem czeka śmierć?
Mam lustrzankę firmy Canon, ale kibicuję innym firmą. Czekam jak Sony i Nikon da "popalić Canonowi. Oby jak najszybciej.
Rysunek pochodzi z wniosku patentowego złożonego przez firmę PANSONIC - literówka
2marekm - Nikon już daje popalić Canonowi. W ciągu ostatnich 3 lat Canon stracił jakoś z 9% udziału w rynku - głównie na rzecz Nikona.
#
I 3ci tydzień z rzędu Opatyczni przegapiają najciekawsze plotki z Sony.... duh........
Dobrze, że mamy Raflusa :) ;)
Lustrzanka z 3D - to jest to! Tylko najpierw trzeba mieć jakiś osprzęt do oglądania.......... ale wideo się chowa przy zdjęciach w 3D :D
Pocieszająca plotka z dworu N.
:D
Coś mi się wydaje że Olympus da ostro popalić konkurencji :)
Hmm, widać Sony nie jest statycznym graczem czyhającym tylko na amatorów, ale i pełnoprawną korporacją wciąż poszukującą nowym rozwiązań - chyba po Minolcie przejęli i tę tendencję.
Nowa matryca? Nowe body z wykorzystaniem technologii 3D? Jak miło... :)
co oni w tym canonie znowu z tym kręceniem filmów, to jakaś paranoja jest
jak widac, najlepsza metoda na promocje jest teraz skladanie wnioskow patentowych :D
kosztuje to bodajze kolo 1000 EUR a ze wnioski sa publicznie dostepne, to zaraz jakis
onanista-debil wynajdzie i rozglosi swiatu nadejscie sprzetu.
sek w tym, ze patentow nie przyznaje sie na model obiektywu czy tez aparatu ;)
ale o tym wielbiciele bicia piany niespecjalnie pamietaja, wiec ochodzo i bezmyslnie
powtarzaja takie baki... :)
Nowy typ matrycy to jest to. Nie od dziś wiadomo, ze mozaika Bayera nie jest zbyt udanym rozwiązaniem. Oby pomysł okazał się lepszy od Foevona.
f8@24mm
He he he.- śmieszny txt napisałeś. :)
Na jednej ze stron są niby zdjęcia zrobione Samsungiem NX - EXIF nawet na to wskazuje.
link
To zrobione wg EXIF na ISO 800 - wygląda zupełnie przyzwoicie.
link
Korzystając z okazji można by do dyskusji o wyższości stabilizacji w korpusie nad tą w obiektywie dołożyć zachowanie się w kilkunastostopniowym mrozie. Mamy piękne zimowe krajobrazy więc przy okazji można strzelić parę ciekawych fotek. Moja L-ka 24-105 daje d... już około zera, coś w niej zamarza lub gęstnieje i żyroskop nie wchodzi na obroty...
@cedrys
Ostatnio przy -12 robilem moze z godzine fotki na dworze... moja A900 nie wykazywala podobnych problemow. Ciekawe czy w Twoim przypadku to kwestia byc moze starego szkla byc moze wymagajacego serwisu czy one po prostu tak maja :(
sparky81,
w temperaturze pokojowej zaczyna stabilizować, więc nie mogę go oddać do serwisu ... chociaż kto wie? Może oni mają jakieś doświadczenie z tym problemem. Napisałem, bo może ktoś z tym się zetknął a do serwisu to nie jestem zaraz taki chętny, tak czy owak. Mam wyjście: biorę Tamrona 28-105 i wychodzę, żaden mróz mu niestraszny. Koledze co prawda rozleciała się na mrozie plastykowa Sigma, ale nie wiem czy to wina szkła czy może ręce mu skostniały i zbyt ostro zadziałał -- w rękawiczkach czucia nie ma. W moim starym Zeissie 2/58 M42 z Jeny smar gęstniał już przy -5'C tak bardzo, że trzeba go było mocniej wkręcić w puszkę, żeby się nie wykręcił. Nie wiem co oni tam za smar dali, ŁT4 czy co?
Tamron17-50/2.8 VC stabilizuje na nikonie bez problemu przy -12C (10-15minut robiłem bo samemu mi ręce tak zmarzły, że nie byłem w stanie więcej pstrykać).
cedrys
Jak kupisz sobie Nikkora, zobaczysz różnice. Moja 10-24 DX nie zamarza przy -10 'C. ;)
Kiedyś miałem d400 zachwycałem się nią, sprzedalem po jakims czasie kupilem 90D Nikona, porownalem fotografie, D400 robi fotografie z kitowym obiektywem takie same jak mój Sony T20... Nie skomentuje, ale w testach to jest "rakieta-żyleta".... :)
Pozdrawiam serdecznie.
@cedrys
w piątek robiłem zdjęcia przy -15C 100-400L i nie było najmniejszych problemów, obiektyw chodził jak marzenie. może warto oddać Twój na przegląd w serwisie
wojtekr,
powiem Ci szczerze, nie lubię jak na wkrętach mocujących bagnet widać działanie serwisu. To jest trochę tak jak z dziewictwem. Zdarzyło mi się kupować kilka razy szkła w komisie. Są bogaci faceci, którzy jak się znudzą to oddają sprzęt do komisu. Czasem jakaś wdowa po starym fotografie przyniesie coś ciekawego... Zawsze patrzę najpierw czy optyka nie jest porysowana a następnie sprawdzam te wkręty. Jak ruszane to pas..., mimo że zdaję sobie sprawę, że obiektyw mógł być oddawany tylko do kalibracji AF. Ciężko go potem opchnąć a nawet wstawić do komisu, do tego im szkło droższe tym ryzyko większe.
Nie bardzo jest jednak wybór jak szkło zamarza, to znaczy, że albo smaru jest za dużo, albo dostała się gdzieś woda. Nie wiem czy to łatwo naprawić w przypadku twojego szkła nie psując czegoś przy okazji. Z drugiej strony chyba zbyt wielu zdjęć nie robi się w minusowych temperaturach i słabym oświetleniu. Wiem, że były specjalne wersje obiektywów do pracy w niskich temperaturach (miały inne smary) dla fotografów pracujących w zimie. Pewnie trzeba się liczyć z awariami zwykłego sprzętu, gdy robi się zdjęcia na Antarktydzie, Syberii, czy innym podobnie zimnym miejscu. Ciekawe jak sobie radzą fotografowie z tym problemem?
@ Adams77
podejzewam ze zabezpieczaja sprzet rownie dobrze jak siebie przed utrata ciepla... Sa produkowane takie ocieplacze na aparat z obiektywem... Zapewne sa rowniez jakies mikro podgrzewacze bateryjne, ktore przy odpowiedniej izolacji od warunkow zewnetrznych sa w stanie sprzet utrzymac w miare rozsadnej temperaturze... Aczkolwiek dla mnie wyjscie z domu przy -10 jest juz wyzwaniem wiec nie wyobrazam sobie lazic przy -30/-50 przez pare dni i do tego robic zdjecia ;) hihi
Ja 2 dni temu przy około -12 biegałem ze 3 godziny z D80 i Nikkorem 18-200 i żadnych problemów nie było. Działał szybko, ostrzył bez problemów, VR nie wiem czy działał dobrze bo nie robiłem zdjęć przy których możnaby to zauważyć, ale skoro reszta była w porządku to nie podejrzewam, żeby tutaj miał byc problem.
Co do strzelania w dużych mrozach - znam kolesia który siedział dłuższy czas na biegunie zimna na Syberii i generalnie mówił, że sprzęt działał bez problemów, a nawet lepiej niż normalnie bo ze względu na bardzo chłodną matrycę miał małe szumy.
Problemy były tylko 2:
- bardzo krótki żywot baterii i konieczność trzymania ich w cieple - przy ciele,
- niedziałający AF - w takich temperaturach jakie tam były nawet najdroższe L-ki, Nikkory czy EX Sigmy nie mają szans. Po prostu trzeba ostrzyć ręcznie (na szczęście potwierdzanie ostrości działa).
Sprzętu o jakim pisaliście w stylu ocieplaczy czy podgrzewaczy bateryjnych nie używał, ale podejrzewam, że podgrzewacze byłyby bez sensu ze względu na i tak krótki żywot baterii w takim mrozie i czasowe trudności z dostępem do prądu.
3D - kupilem wlasnie Fuji VV-1. Pierwsze wrazenia ... smieszne troche. Co do lustrzanki 3D - czy ma to byc lustrzanka ?? przeciez wystarczy pewnie jakis obiketyw z nasadka. Jakies 30 lat temu chyba Pentax sprzedawal takie "cuś" do tego w zestawie z dwuokularowa przystawka "zezujaca" na 1 slajd w podzielony na 2 polowki. Niestety kosztowalo fortune - tzn jakies 100-200$ wiec zalapalem sie tylko kiedys na ogladanie tego przez chwile w tych okularach. Pmietam ze wygladalo to rewelacyjnie - jak te fotki na obracajacych sie kolach wkladanuch do okularow. Ktos takie cos pamieta? Oczywiscie brakowalo tylko "czegos" do ogladania tego bez okularow. Ramka V-1 jest juz wyraznie dobra wersja beta systemu 3D LCD do ogladania bez okularow.
Ogladanie 3D w okularach w domu jest juz gotowe. Taki dosc prosty trik. raz jeden okular zaslaniany przez zaczerniajacy sie blyskawicznie przezroczysty panel LCD potem drugi okular 100 razy na sek. Oczywiscie TV i Blueraj wyswietlajacy 50 polobrazow na lewe oko i 50 na prawe. Zsynchronizowane za pomoca nadajnika podczerwieni w TV (i odbiornika w okularach).
Tylko ciekawe jak z 3D poradza sobie filmowcy ktorzy juz wszystkie chyba sceny kreca na tle niebieskozielonego tła?
Stabilizacja - ostatnio bylem z kolega 5dMK2 + 24-70 IS robic fotki wieczorem nad strumykiem. Pogoda pod psem , zimno wilgoc itp. Czas ok 3sek. Wszystkie fotki jakies "ostre nigdzie" czyli lekko lub lub bardziej srednio poruszane. na koniec wlozyl 85mm stalke (bez stabilizacji) i nagle po wgraniu na laptopa szok bo idealnie ostre te bez stabilizacji a poruszane te ze stabilizacja. Zastanawiamy sie czy nie stalo sie jak kiedys u mnie w kamerze wideo kiedy to wilgoc w jakiejs jungli spowodowala ze stabilizacja obrazu zglupiala i wprowadzala swoje drgania obrazu nawet na statywie. Uspokoilo sie dopiero po kilku dniach suszenia na kaloryferze. Czy ktos kiedys mial podobne odczucia ze zapominajac wylaczyc stabilizacje ( na statywie ) dostaje sie poruszone zdjecia przez nie do konca przeciez idealna stabilizacje?
w książce Kelby'ego parę wątków niżej jest to opisane, ale ponieważ jest to książka dla początkujących to może ją ol*eś. Ja mam z tym osobiste doświadczenie z powershotem Nikona 8800VR, ale tam pisało po prostu w podręczniku, żeby pamiętać o wyłączeniu VR przed użyciem statywu, gdyż może to spowodowac pogorszenie jakości obrazu. Z nowszymi systemami, tzw. inteligentnymi, nie ma tego problemu, rozpoznają panning i wykrywają bezruch bezbłędnie, do tego ograniczają pobór energii w bezruchu. Dzięki temu praktycznie nie ma sobie co zawracać głowę wyłączaniem - wystarczy wyłączenie zasilania.
a ja użytkuje Nikona i czekam na nowinki Sonego i Canona, mam nadzieję, że dadzą popalić Nikonowi, żeby w końcu szybciej myślał, wypuszczał jeszcze lepsze korpusy i kilka przystępnych cenowo stałek z AF-s
D90 czeka na następce... np D90s ;) przydało by się co nieco zmienić, np. jeszcze trochę podciągnąć zdjęcia na wysokich iso, poprawić d-movie itd ;)
pozdrawiam
Nie chce mi się czytać tych waszych referatów, więc powiem krótko. Jeżeli plotki N odnośnie nowych stałek się potwierdzą, to (dla mnie) C straci dość dużą przewagę... Choć jeszcze dużo zależy od ceny i jakości. Przypominam, że mówię mając na względzie swoje potrzeby. ;)
A ja powiem to samo o hipotetycznym Nikkorze 100-500. Oczywiście zależy, czy będzie dobry optycznie, bo średnie optycznie rozwiązanie to już mamy pod postacią Sigm 150-500 OS i 50-500 bez OS. Każdy ma inne potrzeby, ale w Nikonie to chyba te problemy pozostały nierozwiązane w ogóle: niedrogie supertele ze stabilizacją (nie mówię o tele, bo na ekwiwalent 70-200/4is to jeszcze dłuugo poczekamy) oraz bardzo jasne stałki nowej generacji 24mm, 35mm i 85mm. Makro i PC jest (choć mam wrażenie, że w obu dziedzinach Canon troszkę zdystansował Nikona).
@cedrys - masz jakis do du* 24-105. moj wczoraj focil wiatraki przy -9C i nawet sie nie zajaknal
Gdyby N rzeczywiście wydał tyle szkła to rzeczywiście podniósłby poprzeczkę na rynku ... dla mnie najciekawiej wygląda 24mm - brakuje Nikonowi szerokiego kąta projektowanego pod cyfrę
A mnie ciekawi jak rozwinie się sytuacja z nową matrycą Sonego.... Czyżby ten typ matrycy czekał na następcę A700? Nikon D300s to taki odgrzewany kotlecik - nie powiem że nie smakowity. Model D300 miał premierę mniej więcej w tym samym czasie co Alpha 700 - w obu ta sama matryca. Czy i tym razem będzie podobnie? W czerwcu 2006 była premiera Sony A100, 2 miesiące później bo w sierpniu była premiera Nikona D80 - oba aparaty z tą samą matrycą.
@cedrys
nie zgadzam się z Tobą, ale rozumiem Cię doskonale ;)
Wojciek - na statywie przy długich czasach wyłączamy stabilizację! Inaczej na 100% wyjdą ci poruszone zdjęcia, bo żyroskop traktuję taką sytuację za "nienormalną' i soczewka cały czas pływa...
Bardzo łatwo jest sprawdzić czy posiadany obiektyw ma stary system stabilizacji (są takie, które np. stabilizują tylko w jednej płaszczyźnie), czy nowszy. Trzeba użyć puszkę, która ma Lv, postawić aparat na statyw maksymalnie stabilnie (nie w mieszkaniu na panelach); jeśli testujemy zoom -- ustawić go na najdłuższą ogniskową, włączyć Lv i maksymalne powiększenie podglądu. Jeżeli obraz skacze na włączonym IS/VR to jest to stara konstrukcja, jeśli stoi i nie różni się włączony czy wyłączony -- nowsza. Wtedy wiemy co mamy i albo go pogłaszczemy i szepniemy czułe słówko, albo won na allegro!
A ja trzymam kciuki za Nikona, mimo, że jestem Canonowcem ;) Oby wszystkie te plotki się sprawdziły. Na konkurencji każdy konsument zyska :)
PS: @amdman24, nie, moim zdaniem zdjęcie bylo robione fuji finepix S5700/5800
A ja zbieram kase na D800... :)
ale mimo wszystko miło wiedzieć że teraz Canon będzie mieć w domieszce polską krew :]
A może nawet będą polskie aparaty ? :)