O tym się mówi, czyli plotki i ploteczki z ostatniego tygodnia
Weekend rozpoczął się na dobre, a więc pora na nasz cotygodniowy zbiór plotek z branży foto, które pojawiły się w ostatnich dniach w internecie. W tym tygodniu będzie trochę o nowościach Canona, Nikona i Sony, a także o dwóch bardzo ciekawych wnioskach patentowych. Posłuchajcie…
Uwaga! Poniższe informacje w większości nie są oficjalnymi informacjami producentów i pochodzą często z nieznanych i niepotwierdzonych źródeł.
![]() |
Canon
Następca EOS 5D Mark II
Coraz częściej mówi się o premierze lustrzanki Canona, która ma odbyć się w marcu przyszłego roku. Prawdopodobnie wówczas ujrzy światło dzienne następca modelu 5D Mark II, a plotki głoszą, że wraz z aparatem ma pojawić się stabilizowany następca EF 17–40 mm f/4.0L USM.
Następca EF 100–400 mm f/4.5–5.6 L IS USM
Obiektyw Canon EF 100–400 mm f/4.5–5.6 L IS USM miał swoją premierę jeszcze w ubiegłym wieku, więc nie dziwi fakt, iż spekuluje się na temat jego następcy. Prawdopodobnie nie będzie to model o tych samych parametrach i jedynie ulepszonej stabilizacji i konstrukcji optycznej. Mówi się bowiem o obiektywie z zakresem ogniskowych 200–400 i stałym świetłem f/4. Równie często wspomina się o zakresie 100–500 mm.
Następca 580 EX II
Podobno w najbliższym czasie lampa błyskowa Speedlite 580 EX II ma doczekać się następcy. Plotka głosi, że niektóre osoby już testują nowy produkt, więc nie pozostaje nic innego, jak mieć nadzieje, iż producent zrobi nam prezent na święta.
Nikon
Trochę o obiektywach
W sieci pojawiły się plotki dotyczące nowych obiektywów firmy Nikon. Jeżeli informacje się potwierdzą, to w najbliższym czasie producent zaprezentuje kilka ciekawych Nikkorów – będzie to AF-S 50 mm f/1.2G, a także 28 mm f/1.4G. Listę zamyka 80–400 mm f/4.6–5.4, który pojawił się w opublikowanym niedawno wniosku patentowym.
Aparat z wymienną matrycą
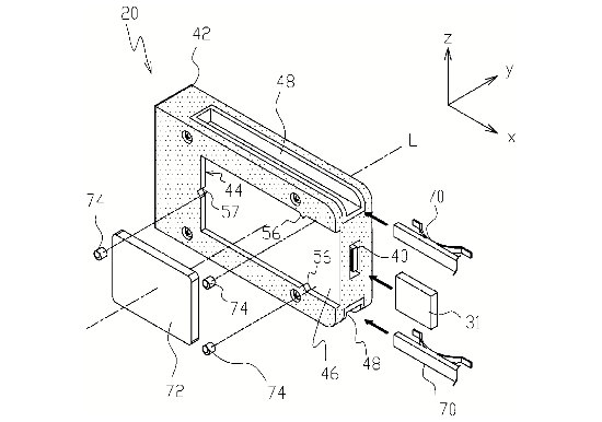
Jak wiadomo, modułowy system Ricoh GXR rewolucji na rynku nie zrobił. Nic więc dziwnego, że producenci poszukują innych niekonwencjonalnych rozwiązań. Jednym z nich jest z pewnością pomysł opisany w jednym z wniosków patentowych Nikona, w którym znalazła się prezentacja systemu pozwalającego na wymianę matrycy w aparacie. Sensor miałby być mocowany w specjalnych szynach, dzięki czemu bardzo łatwo można go wyjąć i zastąpić innym.![]() Rysunek pochodzi z wniosku patentowego złożonego przez firmę Nikon |
Olympus
Coś dla miłośników patentów
Firma Olympus złożyła dość ciekawy wniosek patentowy. Opisuje on system osłony ekranu LCD przed słońcem, który wykorzystuje do tego pasek od aparatu.![]() Rysunek pochodzi z wniosku patentowego złożonego przez firmę Olympus |
Dzięki temu prostemu rozwiązaniu z pewnością łatwiej będzie przeglądać wykonane zdjęcia w silnym słońcu.
![]() Rysunek pochodzi z wniosku patentowego złożonego przez firmę Olympus |
Panasonic
Grip do GH2
Mówi się, że w lutym przyszłego roku firma Panasonic zaprezentuje uchwyt pionowy dla bezlusterkowca Lumix GH2. Na razie brak jest szczegółowych informacji na jego temat.
Sony
Nowy firmware dla A850/A900
Posiadaczy pełnoklatkowych lustrzanek firmy Sony z pewnością ucieszy fakt, iż przed świętami producent zamierza udostępnić nowe wersje firmware przeznaczone dla ich aparatów. Aktualizacje miały pojawić się już kilka miesięcy temu, jednak podobno programiści nie mogli uporać się z kodem, który bazuje jeszcze na architekturze wykorzystywanej w aparatach Minolta. Nowe wersje mają wprowadzać w sumie cztery poprawki, a dwie z nich dotyczą wydajności systemu AF i pracy kompensacji ekspozycji.
Sony NEX-7
Po krótkiej przerwie pojawiły się nowe plotki na temat przyszłego, topowego modelu z serii bezlusterkowców Sony NEX. Model NEX-7 ma zostać zaprezentowany na przełomie lutego i marca przyszłego roku. W odróżnieniu od modeli NEX-3 i NEX-5, ma zaoferować nam elektroniczny wizjer, który będzie bazował na wyświetlaczu wykonanym w technologii OLED. Aparat ma zostać też zoptymalizowany pod kątem trybu wideo i choć zabraknie w nim matrycy ExmorHD, to pozwoli na rejestrację filmów w trybie 1080p z kodowaniem AVCHD 24 Mb/s.Komentarz można dodać po zalogowaniu.
Zaloguj się. Jeżeli nie posiadasz jeszcze konta zarejestruj się.















Optyczne.pl jest serwisem utrzymującym się dzięki wyświetlaniu reklam. Przychody z reklam pozwalają nam na pokrycie kosztów związanych z utrzymaniem serwerów, opłaceniem osób pracujących w redakcji, a także na zakup sprzętu komputerowego i wyposażenie studio, w którym prowadzimy testy.
co tu tak cicho?
bo dopiero 10 minut temu newsa opublikowalem :-)
nadal cicho :)
Rozwiązanie Olympusa jest tak proste a tak genialne :)
A ten Nex 7 to może być fajna sprawa
proste i genialne, ale tylko wtedy, gdy korzystasz jedynie z LV
@zaszkowski - cenne spostrzeżenie. Bo to jest osłona na LCD.
Wreszcie o wymiennych matrycach. Oby to zrobili o ile uda się zapewnić odpowiednio małą tolerancję.
@zaszkowski - albo jeśli korzystasz z lcd w celu obejrzenia wykonanego zdjęcia, np pod względem poprawności wykonania
do ogladania histogramu raczej bajera, do ogladania zdjęć jest monitor w domu. Jak już to łatwiej zastosowac amoleda.
Bardzo mi sie podoba pomysł nikona - jedno body dla FX i DX wielkości d700; migawka zapewne zintegrowana z matrycą i do tego jakieś specjały (np. matryca na podczerwień, super-szybka z trybem burst/movie 500kl/s, matryca studyjna CCD z iso50).
Olympus prosto ale pomysłowo.
Ciekawe czy wystarczy mi kasy jeśli sprzedam swojego fiata, żeby kupić to szkiełko Canona...?
Plotka o terminie wprowadzenia nastepcy 5D MkII brzmi bardzo prawdopodobnie, bo w Anglii mozna juz kupic 5D taniej niz latem. Sa to niby swiateczne promocje, ale moze tez oznaczac poczatek czyszczenia magazynow.
Woooohooo!! Nowy Nikkor 80-400. Nareszcie! :D
Troszkę szkoda by było ucięcia zakresu 100-200 i zostawienie 200-400. Z drugiej strony im mniejszy zakres tym lepsza jakość. Kwestią pozostaje do czego szkło służyć będzie. 100-500 brzmi ciekawie, ale też może budzić niepokój przyszła cena jak i możliwy spadek jakości kosztem zwiększenia zakresu. Ciężko się zdecydować co by było lepsze. Wg mnie 100-400 to optimum, taki tele-spacer-zoom z dobrą jakością.
REDAKCJI KOCHANA--prosze o wiecej nowosci i artykulow testow kompaktow cyfrowych
nie kazdy lubi i chce nosic lustrzanke
80 procent kupowanych w sklepach aparatow to kompakty
SA CZYTELNICY KTORZY INTERESUJA SIE WYLACZNIE KOMPAKTOWYMI APARATAMI TAKZE
Fotoartysta - Kompakty sa wszystkie takie same.. Mnie np irytuja newsy o kompaktach.. 12mpx matryca 3x zoom.. 3cale lcd wyswietlacz.. Wszystko to samo nie ma o czym czytac...
A Tymbardziej testować.. Tak jakbyś na forum wyścigowym pytał o testy sedanów...
fotoartysta - Od ostatnich "plotek" na Optycznych pojawiło się 12 różnych artykułów, z czego 3 (lub 4, jeśli zaliczyć Lumixa) dotyczyło kompaktów, więc nie jęcz.
Ale tak jak pisze Adam.B - po co o nich pisać, skoro wszystkie są takie same?
@fotoartysta problem w tym, że sprzedaż kompaktów spada, lustrzanek wzrasta.
odnośnie tego paska, to chyba jest możliwość regulacji aby aparat nie obijał się o biodro.
Będę musiał to przetestować.
Aby nowy firmware do sony oprócz poprawy AF, poprawił też kolorystykę szumu :)
200-400 f4 byłoby fajne, ale znając cenę 70-300 L IS USM, cena tego zwaliła by z nóg nawet profi :)
Zapodaję też pomysł z wymiennym modułem AF, dzieki czemu mógłbym zmienić ten gówniany z 5D MII :)
ciekawe ile bedzie kosztowa NOWY Nikkor 28 f1.4 byle nie tyle co stary :/
zastanawialem sie nad sigma 100-300 lub canonem 300 f4 ale zaczekam na canona 200-400 :)
jacq- chyba ostro spekulujesz na giełdzie, ( z powodzeniem ) :))
"pomysł Nikona" - genialny w prostocie ( choć nie pierwszy przecież )
Ciekawe dlaczego nikt ( prócz Ricoh - ale to akurat potworek) nie zdecydował się na wdrożenie.
Zapewne nowe korpusy nie sprzedawły by się aż tak dobrze (potem) - ale gdyby ktoś się na to zdecydował ( i nie wymyślił "orginalnego" mocowania obiektywu przy okazji ) miałby szansę zawojować rynek.
Tylko że (powinno to być matryca + procesor.
ta oslona lcd to jakis zart chyba...
Wymienne matryce? W teorii fajne, ale nic takiego nie ujrzy swiatla dziennego. Nie ma tylu "ciekawych" roznych matryc na rynku i nie ma zapotrzebowania na cos takiego. Nawet jak ktos wyskoczy z czyms takim to zaoferuje dwie malo rozniace sie matryce w cenie, ktora kazdego odstraszy i nie dlatego, ze bedzie faktycznie wysoka, tylko dlatego, ze ludzie sobie ubzduraja, ze sama matryca FX powinna byc tansza od Nikona d700 conajmniej o polowe.
Wymienne matryce może to i ok ale na papierze.
Znając życie koszty takiej operacji sprawią ze będzie to zupełnie nieopłacalne.
Co do patentu optymusa to tak naprawdę nie jest to do niczego potrzebne bo jak chcemy podejrzeć zrobioną fotkę to wystarczy zakryć dłonią i mamy to samo bez patentów :)
@AM akurat wymienne matryce to byłoby coś najlepszego. Jakby jeszcze były standardowe, ech... Poza tym jeden aparat mógłby być do różnych specjalistycznych zastosowań. Matryce czułe na podczerwień, na UV (do celów naukowych i technicznych), do astronomii, do studia, wysokoczuła do reportażu z natywnym ISO 800, mniej Mpix za to, żeby szybszy tryb seryjny był. Wróciłyby częściowo czasy analogowe, jeden woli Kodak Gold, drugi Velvię, a trzeci jedzie tylko na cz-b Ilforda.Jedno jest pewne, postęp w matrycach byłby szybszy, za to aparaty bardziej dopracowane, bo aparat wtedy by starczał na 10 lat, a nie jak teraz cykl zmiany 2 lata.
wercio, mowimy o wzglednie tanim FF/APSC. Tu nie ma miejsca na jakies specjalistyczne matryce. Wyprodukuja jakies dwie, rozniace sie iloscia Mpix, ale w zakresie 18-30 na FF.
W srednim formacie wymienne matryce sa od dawna, sa tam tez wieksze mozliwosci ustalania cen i rewolucji nie ma.
@wercio
Teraz połowę tego, co dawała zmiana kliszy, załatwia Photoshop... Czasy się zmieniają. Co prawda w średnim formacie istnieje możliwość zmiany ścianki, nawet wymiennie z kasetą z kliszą, jednak to są już zastosowania profesjonalne. Choć zmienność matrycy mogłaby faktycznie być niezłym pomysłem. Pewnie ucierpiałaby na tym szczelność korpusu.
> postęp w matrycach byłby szybszy, za to aparaty bardziej dopracowane, bo aparat wtedy by starczał na 10 lat, a nie jak teraz cykl zmiany 2 lata.
I dlatego żaden duży producent aparatów nie zaoferuje korpusów z możliwością wymiany matryc, bo mu się to zupełnie nie opłaci. Skoro klienci przyzwyczaili się do kupowania nowej puszki co 3-4 lata, to dlaczego tego dalej nie wykorzystywać?
Ta wymiana matryc to chyba najbardziej niedorzeczny pomysł jaki slyszalem. Jasne, n sobie myśli pewnie ze jak nie umie wyprodukować swojej matrycy to ludzie bedą je sobie w kiosku ruchu kupować w zestawie z kieszonkowym carcherem i zestawemsrubokrecikow. Jeśli takie pomysły wpadają n do głowy to tym bardziej się cieszę ze nie mam już nic żółtego.
zastanawia opłacalnośc tego, pewnie byłaby zabawa jak z płytami głównymi, ten aparat ma slot na te dwie matryce ale jak chcesz tą to musisz kupić inną.
deprak, mam poprostu czas ;)
Zawsze myslalem ze takie plotki to in plus sa... Bo to cos ten czy inny producent robi, cos sie dzieje... Teraz od kiedy jestem w Canonie mam spore zaleglosci i liste zakupow... Okazuje sie ze na mojej liscie sa:
Lampa
Body FF
17-40
Okazuje sie ze wszystko to w najblizszym czasie spodziewa sie nastepcy... Trzeba czekac...
Użyteczność wymiennych matryc ograniczałaby reszta elektroniki (tak jak w kompach - bardzo często zamiast zmieniać procesor, wolałem wymienić płytę lub w ogóle całość, bo działało to optymalniej)... Ale taka cz-b matryca byłaby fajna, bez filtrów dałaby lepszą czułość i rozdzielczość :).
@wojcias - jak zmieniałeś film w aparacie, albo podczas zmiany obiektywu, to też potrzebowałeś karchera i zestawu narzędzi?
W czasach filmów analogowych każdy kupował to co potrzebował, lub było go stać. - velvie, provie, kodaka,- iso 50 iso 800 itp. teraz masz apsc, ff, d3s,d3x zakres iso 100-6400, Raw, sraw, jpeg itp.
Ja ciesze się z firmware do A850-900 bo bardzo się ślinie na ten korpus:)
Mogliście jeszcze napisać o największej bredni tego tygodnia - Nikkorze 24-105/2.8 VR
co do nowego firmware Sony, to jak to w korporacjach, pewnie odszedł o jeden programista za dużo (pewnie ostatni) co jeszcze Minoltę pamiętał ;-) a że nie ma ludzi niezastąpionych to pewnie jego zastąpił sztab innych ambitnych developerów :D inna ciekawostka to że Sony cały czas eksploatuje M, i soft pisane na tą architekturę.
Ktoś popuścił wodze swej fantazji a wy tu się emocjonujecie. To kompletnie bez sensu, bo w efekcie mieli byśmy coś takiego, że co 2 lata każdy i tak chciałby zmienić korpus i matrycę, bo napewno pojawiły by się nowe i lepsze. Poza tym ekonomicznie pomysł nierealny.
@wojcias ,,bardziej się cieszę ze nie mam już nic żółtego"
Nalotu na zebach sie pozbyles ?
To Twoje N , staje sie nudne. Jak myslisz Hute szkla tez N musi miec ? To bardzo ciekawy pomysl... , po co zmieniac korpus, mozna zmieniac obiektywy, filmy, karty pamieci... Czemu nie mozna zmieniac matrycy ?
@ORKan - To nie jest ciekawostka, bo Minolta była najbardziej innowacyjną firmą w fotografii, więc czemu miałby nie eksploatować jej dorobku? W końcu nie po to kupił firmę z dziedzictwem i historią w fotografii większą niż niektórzy "zasłużeni" producenci (jak np. Nikon), żeby to porzucać i tworzyć coś od podstaw.
za n lat może dożyjemy czasów, że matrycę będzie można zmieniać tak łatwo jak kartę CF , np. mamy dwie jedną znakomicie sprawdzającą się w zakresie ISO: 50-400, drugą w zakresie 800-12800
Lub jedna z ISO 50-12800 z profilami naszych ukochanych filmów velvi, kodaka itd. itp.
To jeszcze pewnie niedługo nikon opatentuje samochody z wymiennymi silnikami - ekonomiczny do jazdy po mieście, mocny na autostradę i elektryczny dla zainteresowanych. Jak silnik będzie już przestarzały - nie ma problemu - kupujemy nowy, a karoseria wystarczy na 30 lat.
Zastanówmy się jaki to ma sens?
Patenty zgłasza się na wszelki wypadek, szczególnie że to niewiele kosztuje, nie trzeba od razu tego produkować.
A900 ma wymienne matówki ale jakoś niewiele osób z tego korzysta.
Skąd masz dane na temat matówek do A900? Ja akurat korzystam z 2ch.
@qbic domyślam się jedynie - jakby były popularne to w każdym sklepie byłyby do kupienia. Klienci pytali by o nie, a handlowcy mieli w ofercie.
MaciekKwarciak, praktycznie każdy aparat ma wymienne matówki. Najczęściej jednak standardowa matówka jest najlepsza, mało komu potrzebna jest inna.
@MaciekKwarciak - pogadaj sobie z tym: link
A z matówkami - to tak jak z bronią palną. Wszędzie nie dostaniesz, ale kto chce lub potrzebuje ten ma i używa. To nie jest zabawka, że wszyscy mają z niej korzystać.
wymienne matryce? tak, jasne...
mam matrycę FX, więc wymienię sobie na DX ot tak bez żadnego powodu.
albo czekajcie, mam lepszy pomysł...
"Mam D700 i obiektyw 300mm. Ale kurcze, ten bocian jest strasznie daleko! Wiem! wymienię matrycę na DX! przecież dzięki temu będę miał ogniskową 450mm! i teraz bocian jest bliżej! Wow, dzięki Nikon!"
Jak większość - zgadzam się że wymienne matryce to mało realne ( i opłacalne dla największych). Lecz - czy ktoś 5 lat temu myślał że większość (nowych) telefonów komórkowych będzie można ładować przez USB ?
Pewnie dla N ( i C i S) to nieopłacalne ale gdyby np takie Fuji zamiast kupować kolejne body D200 od Nikona skupiło się tylko na środeczku ... jak wszystko wymaga to odwagi ( takiej samej jak translucent S )
ale ma duży potenciał marketingowy. Matryce UV, b/w, high iso, itd można sprzedać jeszcze więcej ...
Nie czytałem wszystkich wpisów, więc może nie wpadłem na nic nowego, ale...
Może Nikon opracował nową wersję sławnego kiedyś (którego nikt nie widział w działaniu) filmu cyfrowego? Taka wkładka z matrycą do każdej lustrzanki na film 35mm i może inne formaty też . Da się zrobić i użyteczne - będę musiał od siostry odebrać swoje 35mm body :P
I tak najlepszy patent to ten od Olka... szkoda, że ma jedna wadę. Chyba będzie można przeglądać zdjęcia na ekranie, ale nie będzie się dało robić zdjęć przez wizjer, chyba że ktoś ma wyłupiaste oczy.
focjusz, ja przewidywałem, dla mnie to było oczywiste. Tu nie ma co porównywać, poprostu to jets kompletnie pozbawione sensu.
Dawniej zmiana filmu dawała inny obrazek, dziś do tego służy komputer i tak pozostanie, przecież nikt nie bedzie produkował specjalnie oprogramowanej wersji która będzie ocieplać, ochładzać, ponosić nasycenie itd...
Jestem za wymienną matrycą. Jeden potrzebuje dobrą dynamikę tonalną a inny pierdylion pikseli i każdy mógłby wybrać wedle potrzeb. Pytanie czy to byłoby na tyle opłacalne, żeby to wdrożyć. Chyba Nikon opatentował to "na wszelki wypadek".
Już kilka lat temu to pisałem.
Kiedyś a zwłaszcza dziś, aparat cyfrowy ewoluował do tego stopnia że już można taki aparat "zrobić" sobie samemu, analogicznie jak budowanie PC. Obudowa, matryca, procesor, ekram, wizjer,soft, szkło, zasilanie itd. to tylko rozbudowa jak dzisiejsze PC-ty.
Uniwersalna obudowa ? (body) też może zaistnieć wyprodukowana przez niezależnego producenta. (tak jak "budy" do PC a jest ich multum). Teraz body to rzecz gustu i przyzwyczajenia.
Po co produkować co kilka m-cy nowy model skoro można dać użytkownikom większy wybór w podzespołach !
Ricoch daje tego namiastkę a raczej tylko pomysł bo to mija się z ekonomią dla użytkownika.
Wymiana matrycy ? Może być nawet tylko po rozkręceniu body.
LCD niepotrzebny ? Wyjdzie taniej. Jeśli bez LCD to i LV też nie będzie potrzebne w sofcie (i znowu taniej). Za to dołożę do najnowszej matrycy od D700 która będzie w wersjach 5 mpix, 10 mpix, 15, 20, i 25. Wybiorę sobie 10 mix bo tańsza (dlatego że starsza) ale nieodbiegająca jakością do 25 mpix.
Wizjer elektroniczny wezmę monochromatyczny (tańszy) a dołożę do .... itp. itd ...
Kiedyś coś wyrzucę bo będzie lepsze ale nie wwyrzucam całego aparatu !
Coś się zepsuje, ale nie wyrzucam całego aparatu !
Zawsze idę z duchem czasu a nie jak dziś co mam aparat do 7 lat .... :D
Wydaje mi sie, ze zamiana matrycy moze dac nam wieksze mozliwosci i wybor np. DX albo FX albo zmiane liczby pix. Jezeli ktos potrzebuje wiecej niz 12Mpix to moze zamienic matryce. Tak jak wybierasz sobie system odpowiedni dla siebie rodzaj korpusu czy optyke lub karty pamieci. To jeszcze bedzie mozna dobrac sobie matryce. Dawniej zmiana filmu dawała inny obrazek, dziś do tego służy komputer" zagadzam sie z Toba, ale ludzie wiele czasu spedzali na poprawianu obrazka zamiast starac sie robic poprawne i naturalne zdjecia , bo dzis w fotografii mamy do czynia ze zjawiskiem przerysowania.
Jakbym miał wybierać między filtrem IR na obiektyw i się męczyć z kilkudziesięcio sekundowymi ekspozycjami, a matrycą blokującą światło dzienne, bez filtra dolnoprzepustowego, bez mozaiki bayera, z krótszymi czasami ekspozycji (bo światła IR jest więcej niż widzialnego), to sory, ale choćbym miał zapłacić więcej, to wybieram opcję numer dwa.
Jakbym miał wysyłać aparat po to żeby mi go przystosowali pod fotografię UV, a mógłbym po prostu kupić obiektyw ze szkła kwarcowego i specjalną matrycę osobno, to wybieram to drugie.
Przecież, kurna jego mać, te dwa typy fotografii, szczególnie fotografia UV wręcz umarły przez to, że razem z cyfrą pojawił się problem niemożliwości zmiany materiału światłoczułego. Przecież zmienne ISO to nie wszystko. Przecież to żyło i kwitło i świetne zdjęcia to były, a teraz jacyś pseudo-znawcy będą udowadniać, że to nie ma sensu - nie wiem czy się śmiać czy płakać, naprawdę...
Tak chcecie wymieniać bebechy tj. matryce, soft itp. To ja dorzucę ze będę chciał mieć jak największy wizjer i koniecznie 100% krycia w tym waszym uniwersalnym body. Taki problem: jedna osoba ma małe dłonie, będzie chciała mieć body jak d7k lub d300, inna d700 jeszcze inna duże body jak d3. To który z tych korpusów uznamy za uniwersalny??
@Rudydb9 ,,w tym waszym uniwersalnym body. Taki problem: jedna osoba ma małe dłonie, będzie chciała mieć body jak d7k lub d300, inna d700 jeszcze inna duże body jak d3" jesli Ty wybierasz body z powodu swojej fizjonomii ciala i tym kierujesz sie wyborze body .Jak nie dajesz rady utrzymac d300 albo d3 tom ma cos dla Ciebie
link
huber2s proszę bez osobistych wycieczek. Sa osoby, które preferują małe - duże korpusy ze względu na wygodę trzymania, przeznaczenie, wagę, wartość itp. D300/700 w moim przypadku ok. 1-0 dla mnie nie trafiłeś .... D7k ciut za mały, a D3 przeraza mnie wagowo.
focjusz to ptrzecie Fuji po to kupuje body od nikona zeby sie skupić TYLKO na srodeczku.
Wymienne matowki napewno sie nie wybronia. Ale mocno liczylem na to ze w systemie 4/3 pojawi sie Fuji ze swoja nowa matryca oraz moze Sigma z Fuevonem i Samsung z bezlusterkowcem.
Niestety wszystkie 3. firmy wybraly inna droge i nowe matryce APSC a bagnety - jak w wiezy Babel.
Tak sie wszystko popierniczylo nawet w ramach jednaj firmy). Rozne bagnety Sony, polrozne bagnety Nikona ) a co dopiero w calej fotograficznej familii gdzie jeszcze jest podzial na FF i APSC do tego jak w Canonie szkla APSC nie mozna nawet z cropem uzyc w body FF.
Szkoda bo kilka dobrych szkiel pod 4/3 i zamiast wymiennej matrycy byloby wymienne body z odpowiednia matryca na odpowiedni temat. Tym bardziej ze niedrogi to system i kazdego (fana fotografii) byloby stac na 2 czasem i 3 body.Bo nie ma nic piekniejszego jak "standard". Szkoda ze matrca 4/3 ma wade wrodzona (wielkosc) - gdyby byla przynajniej APSC i do tego jeden bagnet do calego systemu ... a w tym systemie body od np Casio z matryca globalshutter filmujaca 1000kl/s czy jakies body Illforda z cz-biala matryca albo jeszcze jakis aparacik Olympusa bez filtra UV IR itd do "kosmicznej fotogafii" (przeciez to tez ich domena).
Niestety - nie dogadali sie - niestety to co jest z korzyscia dla naszych portfeli nie jest z kozyscia dla naszych ulubionych firm.
@Orkan : nowe produkty Soniego bazują już na Linuksie :
link
i nowe A : link
Nie bardzo z tego rysunku wynika jak tym paskiem osłonić LCD i miec go jednocześnie na szyji ?:) jeżeli do przeglądania trzeba go ściągać z głowy to kiepski patent....
Zieeeeeeeeeeeeew... coś ostatnio posucha. Może to i lepiej, można fotki pstrykać zamiast czytać Optyczne. :) szkoda że światło marne o tej porze roku w mojej części Europy.
No więc jaki będzie ten Canon 5DmkIII?
@ilDottore
poranek nad londynem byl jeszcze jeszcze ale po 13 zrobilo sie ciemno...
ch0mik | 2010-11-22 12:49:12 .........nowe produkty Soniego bazują już na Linuksie
No to cierpliwie czekam na rosyjski firmware do NEXa w wersji przynajmniej tak dobrej jak ten do GH1
Wymienne matowki napewno sie nie wybronia. Ale mocno liczylem na to ze w systemie 4/3 pojawi sie Fuji ze swoja nowa matryca oraz moze Sigma z Fuevonem i Samsung z bezlusterkowcem.
Niestety wszystkie 3. firmy wybraly inna droge i nowe matryce APSC a bagnety - jak w wiezy Babel.
Tak sie wszystko popierniczylo nawet w ramach jednaj firmy). Rozne bagnety Sony, polrozne bagnety Nikona ) a co dopiero w calej fotograficznej familii gdzie jeszcze jest podzial na FF i APSC do tego jak w Canonie szkla APSC nie mozna nawet z cropem uzyc w body FF.
Szkoda bo kilka dobrych szkiel pod 4/3 i zamiast wymiennej matrycy byloby wymienne body z odpowiednia matryca na odpowiedni temat. Tym bardziej ze niedrogi to system i kazdego (fana fotografii) byloby stac na 2 czasem i 3 body.Bo nie ma nic piekniejszego jak "standard". Szkoda ze matrca 4/3 ma wade wrodzona (wielkosc) - gdyby byla przynajniej APSC i do tego jeden bagnet do calego systemu ... a w tym systemie body od np Casio z matryca globalshutter filmujaca 1000kl/s czy jakies body Illforda z cz-biala matryca albo jeszcze jakis aparacik Olympusa bez filtra UV IR itd do "kosmicznej fotogafii" (przeciez to tez ich domena).
Niestety - nie dogadali sie - niestety to co jest z korzyscia dla naszych portfeli nie jest z kozyscia dla naszych ulubionych firm.
@thorgal
A w IRL mamy śnieg... :)